Многоканальные телефоны(495)NoSkype 978-50-70, 971-20-60

Электронная почта: info@diamondtool.ru
Адрес: г.Москва, 2 ой проезд Перова поля, д. 9, стр. 6
Время работы: Понедельник - Пятница с 9 до 18

Электрические динамометрические гайковерты Losomat сери LES с боковым редуктором

Динамометрические гайковерты LES

Производитель: Losomat (Германия)

Специально разработанные серии боковых динамометрических ключей для безопасного монтажа и демонтажа систем пластинчатого теплообменника. Гайковерты работают быстро и надежно, как и все устройства, производимые компанией LOSOMAT, оптимизированный центр тяжести и масса для максимально комфортного использования.

Особенности

  • Запатентованная отключающая электроника, защищенная от брызг воды и влаги.
  • Оптимизированная конструкция позволяет экономить место позиционирования параллельно поперечной рулевой тяги.
  • Таблица на корпусе с доступными моментами затяжки.
  • Вращающийся на 360° блок привода с остановом обеспечивает простое позиционирование на шпильке.
  • Цифровой дисплей со встроенным счетчиком и функцией обратного отсчета.
  • Различные размеры ключей с переходниками для универсального применения.
  • Запатентованная тандемная шкивная передача для безопасной передачи больших моментов до 4800 Нм.(Модели с индексом LES 16/...).

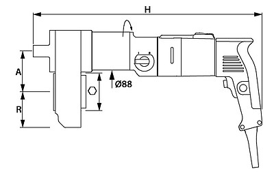
Технические характеристики

Модель Момент затяжки, Нм Момент затяжки, lbf·ft Скорость вращения, об/мин Шестигранник, мм A/R, мм H, мм Вес, кг Цена, руб
LES - 16/603000 2200 7 60 112/61 503 11.1 по запросу
LES - 16/703600 2650 5 70 118/75 503 11.7 по запросу
LES - 16/803600 2650 5 80 118/75 503 11.7 по запросу
LES - 16/954800 3500 4 95 135/95 503 13.6 по запросу
LES - 09/551600 1180 13 55 86/75 480 10.0 по запросу
LES - 09/601600 1180 13 60 86/75 480 9.8по запросу

Отправить запрос

Чтобы купить интересующую вас продукцию или задать вопрос,
вы можете связаться с нами по телефону или отправить запрос заполнив форму:

*
*
*

* - поля обязательные для заполнения

Каталог оборудования: